巖土師考試基礎知識重點:流體動力學基礎3
更新時間:2013-07-30 10:36:50
來源:|0
瀏覽
收藏
注冊土木工程師(巖土)報名、考試、查分時間 免費短信提醒
摘要 巖土師考試基礎知識重點:流體動力學基礎
三、恒定總流能量方程
(一)元流能量方程

(二)漸變流斷面上的壓強分布
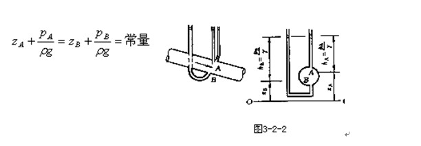
為將元流的能量方程推廣到總流,需利用漸變流的特點。前面流體運動的分類已提到,漸變流中各流線的曲率很小,而且流線間的夾角也很小。也就是說,漸變流中任一點的流速的大小和方向沿流線的變化很小。因此,可以不考慮慣性力,同一過流斷面上各點間的壓差由重力引起,斷面上壓強分布與靜壓強分布規律相同――直線分布即
式中下標A、B表示同一斷面上的不同位置的點,如圖3-2-2。

編輯推薦:
編輯推薦
最新資訊
- 2025年注冊土木工程師(巖土)考試《專業知識》科目重點考點2025-10-17
- 2025年注冊土木工程師(巖土)基礎知識考點復習2025-10-17
- 2025年巖土工程師基礎知識點:地面沉降2025-09-10
- 2025年巖土工程師《基礎知識》考點:基坑圍護設計2025-09-01
- 2025年巖土工程師《基礎知識》考點:監測點要求2025-08-22
- 2025年巖土工程師《基礎知識》考點:砌體工程2025-08-11
- 2023年注冊巖土工程師基礎考試資料2024-09-20
- 2024年度全國注冊土木工程師(巖土)專業考試所使用的標準和法律法規2024-08-12
- 注冊巖土工程師備考要趁早 雙11好課限時優惠!直播間更有返現抽獎~2023-10-31
- 雙11預熱火熱進行中!超值好課助力你巖土工程師備考2023-10-31