2004年造價工程師案例分析試題
某房屋建筑工程項目,建設單位與施工單位按照《建設工程施工合同(示范文本)》簽訂了施工承包合同。施工合同中規定:
(1)設備由建設單位采購,施工單位安裝;
(2)建設單位原因導致的施工單位人員窩工,按18元/工日補償,建設單位原因導致的施工單位設備閑置,按表l.1中所列標準補償;
表1.1 設備閑置補償標準表
| 機械名稱 | 臺班單價(元/臺班) | 補償標準 |
| 大型起重機 | 1060 | 臺班單價的60% |
| 自卸汽車(5t) | 318 | 臺班單價的40% |
| 自卸汽車(8t) | 458 | 臺班單價的50% |
(3)施工過程中發生的設計變更,其價款按建標[2003]206號文件的規定以工料單價法計價程序計價(以直接費為計算基礎),間接費費率為10%,利潤率為5%,稅率為3.41%。
該工程在施工過程中發生以下事件:
事件l:施工單位在土方工程填筑時,發現取土區的土壤含水量過大,必須經過晾曬后才能填筑,增加費用30 000元,工期延誤l0天。
事件2:基坑開挖深度為3m,施工組織設計中考慮的放坡系數為0.3(已經監理工程師批準)。施工單位為避免坑壁塌方,開挖時加大了放坡系數,使土方開挖量增加,導致費用超支10 000元,工期延誤3天。
事件3:施工單位在主體鋼結構吊裝安裝階段發現鋼筋混凝土結構上缺少相應的預埋件,經查實是由于土建施工圖紙遺漏該預埋件的錯誤所致。返工處理后,增加費用20 000元,工期延誤8天。
事件4:建設單位采購的設備沒有按計劃時間到場,施工受到影響,施工單位一臺大型起重機、兩臺自卸汽車(載重5t、8t各一臺)閑置5天,工人窩工86工日,工期延誤5天。
事件5:某分項工程由于建設單位提出工程使用功能的調整,須進行設計變更。設計變更后,經確認直接工程費增加l8 000元,措施費增加2000元。
上述事件發生后,施工單位及時向建設單位造價工程師提出索賠要求。
問題
1.分析以上各事件中造價工程師是否應該批準施工單位的索賠要求?為什么?
2.對于工程施工中發生的工程變更,造價工程師對變更部分的合同價款應根據什么原則確定?
3.造價工程師應批準的索賠金額是多少元?工程延期是多少天?
試題二(20分)
某建設單位經相關主管部門批準,組織某建設項目全過程總承包(即EPC模式)的公開招標工作。根據實際情況和建設單位要求,該工程工期定為兩年,考慮到各種因素的影響,決定該工程在基本方案確定后即開始招標,確定的招標程序如下:
(1)成立該工程招標領導機構;
(2)委托招標代理機構代理招標;
(3)發出投標邀請書;
(4)對報名參加投標者進行資格預審,并將結果通知合格的申請投標人;
(5)向所有獲得投標資格的投標人發售招標文件;
(6)召開投標預備會;
(7)招標文件的澄清與修改;
(8)建立評標組織,制定標底和評標、定標辦法;
(9)召開開標會議,審查投標書;
(10)組織評標;
(11)與合格的投標者進行質疑澄清;
(12)決定中標單位;
(13)發出中標通知書;
(14)建設單位與中標單位簽訂承發包合同。
問題:
1.指出上述招標程序中的不妥和不完善之處。
2.該工程共有7家投標人投標,在開標過程中,出現如下情況:
(1)其中1家投標人的投標書沒有按照招標文件的要求進行密封和加蓋企業法人印章,經招標監督機構認定,該投標作無效投標處理;
(2)其中1家投標人提供的企業法定代表人委托書是復印件,經招標監督機構認定,該投標作無效投標處理;
(3)開標人發現剩余的5家投標人中,有1家的投標報價與標底價格相差較大,經現場商議,也作為無效投標處理。
指明以上處理是否正確,并說明原因。
3.假設該工程有效標書經評標老師的評審,其中A、B、C三家投標單位投標方案的有關參數,如表2.1所示。
| 投標 方案 |
建設期費用支出(萬元) | 項目運 營期(年) |
項目運營期的 年運營成本(萬元) |
工程報廢時的 殘值回收(萬元) | |
| 第1年末 | 第2年末 | ||||
| A | 250 | 240 | 15 | 25 | 10 |
| B | 300 | 330 | 20 | 10 | 20 |
| C | 240 | 240 | 15 | 15 | 20 |
若基準折現率為10%,且已知A方案壽命期年費用為72.40萬元;B方案壽命期年費用為69.93萬元。試計算C方案壽命期年費用,并利用年費用指標對三個投標方案的優劣進行排序(小數點后保留兩位)。
4.建設單位從建設項目投資控制角度考慮,傾向于采用固定總價合同。固定總價合同具有什么特點?
試題三(25分)
某工程項目由A、B、C、D四個分項工程組成,合同工期為6個月。施工合同規定:
(1)開工前建設單位向施工單位支付l0%的工程預付款,工程預付款在4、5、6月份結算時分月均攤抵扣;
(2)保留金為合同總價的5%,每月從施工單位的工程進度款中扣留l0%,扣完為止;
(3)工程進度款逐月結算,不考慮物價調整;
(4)分項工程累計實際完成工程量超出計劃完成工程量的20%時,該分項工程工程量超出部分的結算單價調整系數為0.95.各月計劃完成工程量及全費用單價如表3.1所示。
1、2、3月份實際完成的工程量如表3.2所示。

試題四 (20分)
某施工單位編制的某工程網絡圖,如圖4.1所示,網絡進度計劃原始方案各工作的持續時間和估計費用,如表4.1所示。

| 工作 | 持續時間(天) | 費用(萬元) | |||
| A | 12 | 18 | |||
| B | 26 | 40 | |||
| C | 24 | 25 | |||
| D | 6 | 15 | |||
| E | 12 | 40 | |||
| F | 40 | 120 | |||
| G | 8 | 16 | |||
| H | 28 | 37 | |||
| I | 4 | 10 | |||
| J | 32 | 64 | |||
| K | 16 | 16 | |||
問題
1.在答題紙圖4.2上,計算網絡進度計劃原始方案各工作的時間參數,確定網絡進度計劃原始方案的關鍵路線和計算工期。
2.若施工合同規定:工程工期93天,工期每提前一天獎勵施工單位3萬元,每延期一天對施工單位罰款5萬元。計算按網絡進度計劃原始方案實施時的綜合費用。
3.若該網絡進度計劃各工作的可壓縮時間及壓縮單位時間增加的費用,如表4.2所示。確定該網絡進度計劃的最低綜合費用和相應的關鍵路線,并計算調整優化后的總工期(要求寫出調整優化過程)。
| 工作 | 可壓縮時間(天) | 壓縮單位時問增加的費用(萬元/天) | |||
| A | 2 | 2 | |||
| B | 2 | 4 | |||
| C | 2 | 3.5 | |||
| D | O | / | |||
| E | 1 | 2 | |||
| F | 5 | 2 | |||
| G | 1 | 2 | |||
| H | 2 | 1.5 | |||
| I | 0 | / | |||
| J | 2 | 6 | |||
| K | 2 | 2 |
試題五(25分)
某地區2004年初擬建一工業項目,有關資料如下:
1.經估算國產設備購置費為2000萬元(人民幣)。進口設備FOB價為2500萬元(人民幣),到岸價(貨價、海運費、運輸保險費)為3020萬元(人民幣),進口設備國內運雜費為100萬元。
2.本地區已建類似工程項目中建筑工程費用(土建、裝飾)為設備投資的23%,2001年已建類似工程建筑工程造價資料及2004年初價格信息,如表5.1所示,建筑工程綜合費率為24.74%。設備安裝費用為設備投資的9%,其他費用為設備投資的8%,由于時間因素引起變化的綜合調整系數分別為0.98和1.16. 3.基本預備費率按8%考慮。
表5.1 2001年已建類似工程建筑工程造價資料及2004年初價格信息表
| 名稱 | 單位 | 數量 | 2001年預算單價 (元) | 2004年初預算單價 (元) |
| 人工 | 工日 | 24 000 | 28 | 32 |
| 鋼材 | t | 440 | 2410 | 4100 |
| 木材 | m3 | 120 | 125l | 1250 |
| 水泥 | t | 850 | 352 | 383 |
|
名稱 |
單位 |
合價 |
調整系數 |
|
其他材料費 |
萬元 |
198.50 |
1.10 |
|
機械臺班費 |
萬元 |
66.00 |
1.06 |
問題
1.按照答題紙表5.2的給定數據和要求,計算進口設備購置費用。
2.計算擬建項目設備投資費用。
3.試計算:
(1)已建類似工程建筑工程直接工程費、建筑工程費用。
(2)已建類似工程建筑工程中的人工費、材料費、機械臺班費分別占建筑工程費用的百分比(保留小數點后兩位)。
(3)2004年擬建項目的建筑工程綜合調整系數(保留小數點后兩位)。
4.估算擬建項目工程建設靜態投資。
試題六(30分)
本試題分三個專業(I.土建工程、Ⅱ。工業管道安裝工程、Ⅲ。電氣安裝工程),請任選其中一題作答。若選作多題,按所答的第一題(卷面順序)計分。
1.土建工程
某工程柱下獨立基礎見圖6.1,共l8個。已知:土壤類別為三類土;混凝土現場攪拌,混凝土強度等級:基礎墊層Cl0,獨立基礎及獨立柱C20;棄土運距200m;基礎回填土夯填;土方挖、填計算均按天然密實土。
問題
1.根據圖示內容和《建設工程工程量清單計價規范》的規定,根據表6.1所列清單項目編制±0.00以下的分部分項工程量清單,并將計算過程及結果填入答題紙表6.1.1“分部分項工程量清單”。有關分部分項工程量清單統一項目編碼見表6.1:
表6.1 分部分項工程量清單的統一項目編碼表
| 項目編碼 | 項目名稱 | 項目編碼 | 項目名稱 |
| 010101003 | 挖基礎土方 | 010402001 | 矩形柱 |
| 010401002 | 獨立基礎 | 010103001 | 土方回填(基礎) |
2.某承包商擬投標該工程,根據地質資料,確定柱基礎為人工放坡開挖,工作面每邊增加0.3m;自墊層上表面開始放坡,放坡系數為0.33;基坑邊可堆土490m3;余土用翻斗車外運200m.該承包商使用的消耗量定額如下:挖1m3土方,用工0.48工日(已包括基底釬探用工);裝運(外運200m)1m3土方,用工0.10工日,翻斗車0.069臺班。已知:翻斗車臺班單價為63.81元/臺班,人工單價為22元/工日。 計算承包商挖獨立基礎土方的人工費、材料費、機械費合價。
3.假定管理費率為l2%;利潤率為7%,風險系數為l%。按《建設工程工程量清單計價規范》有關規定,計算承包商填報的挖獨立基礎土方工程量清單的綜合單價。(風險費以工料機和管理費之和為基數計算)
(注:問題2、3的計算結果要帶計量單位。)


Ⅱ.工業管道安裝工程
某一化工生產裝置中部分熱交換工藝管道系統,如圖6.Ⅱ所示。
計算該管道系統工程相關費用的條件為:
分部分項工程量清單項目費用合計1770萬元,其中人工費l5萬元。管理費、利潤分別按人工費的50%、60%計。
腳手架搭拆的工料機費用按分部分項工程人工費的7%計,其中人工費占25%;大型機械進出場耗用人工費l萬元,材料費3萬元,機械費4.9萬元;安全、文明施工等措施項目費用總額為40萬元。
其他項目清單費用l00萬元;規費80萬元。
稅金按3.41%計。
問題
1.根據圖示內容和《建設工程工程量清單計價規范》的規定,編制分部分項工程量清單(不含法蘭有關分項),并將計算過程及結果填入答題紙表6.Ⅱ.1“分部分項工程量清單表”。要求編制的分部分項工程量清單統一項目編碼見表6.Ⅱ:
表6.Ⅱ 分部分項工程量清單統一項目編碼
| 項目編碼 | 項目名稱 | 項目編碼 | 項目名稱 |
| 030602002 03060500l 030615001 |
中壓碳鋼管 中壓碳鋼管件 管架制作安裝 |
030608002 030608003 0306l6005 |
中壓法蘭閥門 中壓齒輪、液壓傳動、電動閥門 焊縫超聲波探傷 |
2.依據上述條件計算單位工程費用,填入答題紙表6.Ⅱ.2“單位工程費用匯總表”。并在表下面列出措施項目清單費用和稅金的計算過程(計算式)。(保留兩位小數)

說明
1.某一化工廠生產裝置中的部分熱交換工藝管道系統如圖所示,圖中標注尺寸標高以m計,其他均以mm計。該管道系統工作壓力為2.0MPa. 2.管道:采用20#碳鋼無縫鋼管,管件:彎頭采用成品沖壓彎頭,三通、四通現場挖眼連接,異徑管現場摔制。
3.閥門、法蘭:所有法蘭為碳鋼對焊法蘭;閥門型號除圖中說明外,均為J41H-25,采用對焊法蘭連接;系統連接全部為電弧焊。
4.管道支架為普通支架,其中:Φ219×6管支架共l2處,每處25kg,Φl59×6管支架共l0處,每處20ks.支架手工除銹后刷防銹漆、調和漆兩遍。
S.管道安裝完畢做水壓試驗,對管道焊口按50%的比例做超聲波探傷,其焊口總數為:Φ219×6管道焊口l2個Φl59×6管道焊口24個。
6.管道安裝就位后。所有管道外壁手工除銹后均刷防銹漆兩遍,采用巖棉管殼(厚度為60mm)做絕熱層。外包鋁箔保護層。
Ⅲ.電器安裝工程
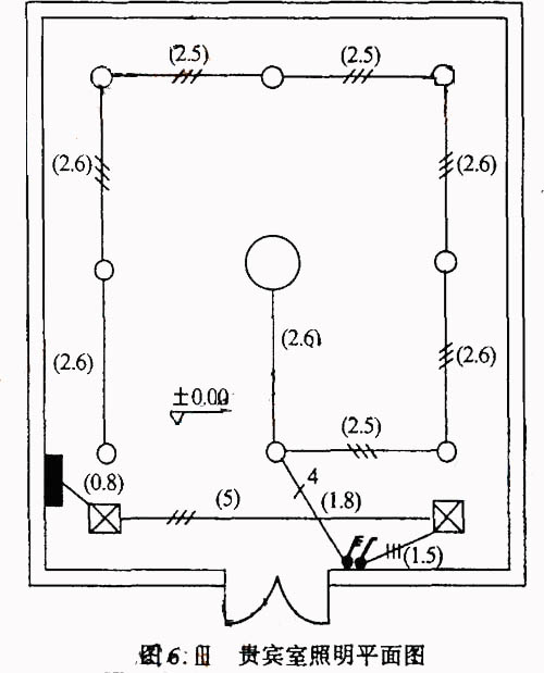
某貴賓室照明系統中一回路如圖6. Ⅲ所示。
表6. Ⅲ中數據為計算該照明工程的相關費用:
表6.3Ⅲ 照明工程各項目的相關費用
| 序號 | 項目名稱 | 計量單位 | 安裝費(元) | 主材 | |||||
| 人工費 | 材料費 | 機械使用費 | 管理費 | 利潤 | |||||
| 單價(元) | 消耗量 | ||||||||
| l | 鍍鋅鋼管蜘沿磚、混凝土結構暗配 | m | 1.98 | 0.58 | 0.20 | 0.71 | 0.59 | 4.50 | 1.03 |
| 2 | 管內穿阻燃絕緣導線ZRBV-1.5mm2 | m | 0.30 | 0.18 | 0 | 0.1l | 0.09 | 1.20 | 1.16 |
| 3 | 接線盒暗裝 | 個 | 1.20 | 2.20 | 0 | 0.43 | 0.36 | 2.40 | 1.02 |
| 4 | 開關盒暗裝 | 個 | 1.20 | 2.20 | 0 | 0.43 | 0.36 | 2.40 | 1.02 |
問題
1.根據圖示內容、《建設工程工程量清單計價規范》的規定及答題紙表6.Ⅲ。1給定的項目統一編碼編制分部分項工程量清單,并將計算過程及結果填入答題紙表6.Ⅲ。1“分部分項工程量清單”。
2.依據上述相關費用數據計算鍍鋅鋼管敷設項目和管內穿線項目的工程量清單綜合單價,并分別填入答題紙表6.Ⅲ。2和6.Ill.3“分部分項工程量清單綜合單價計算表”。


最新資訊
- 更新版:2025年一級造價師案例考試真題及答案(1-3題)2025-10-27
- 速領!2025年一級造價師各科目考試真題及答案【完整版】2025-10-26
- 2025年一級造價師《案例分析》真題解析(試題三)2025-10-25
- 2025年一級造價師《安裝計量》真題答案61-70題2025-10-23
- 2025年一級造價師《安裝計量》真題答案41-50題2025-10-23
- 2025年一級造價師《安裝計量》真題及答案31-40題2025-10-23
- 2025年一級造價師《安裝計量》真題答案21-30題2025-10-23
- 2025年一級造價師《案例分析》考試真題及答案(試題一)2025-10-23
- 2025年一級造價師案例真題及答案試題五(土建專業)2025-10-22
- 2025年一級造價師《土建計量》考試真題答案51-60題2025-10-22