2014年二級物流師操作技能案例之計算題講解1
更新時間:2014-01-10 19:01:08
來源:|0
瀏覽
收藏
摘要 2014年二級物流師操作技能案例之計算題講解,由環球網校物流師頻道提供,供大家學習參考,詳見下文。
二級物流師操作技能案例之計算題講解
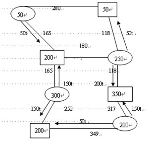
某運輸公司有甲、乙、丙、丁四個倉庫分別需要發運大米50噸、250噸、200噸和300噸到需求地。需求地有A、B、C、D四個客戶,需要量分別為50噸、350噸、200噸和200噸。每噸公里為3元,請確定最優運輸方案并計算最低運費。

答案
最低運費=(165×50+118×50+118×200+165×150+317×150+252×150+349×50) ×3=495900(元)

最新資訊
- 2017年物流師三級物流技術的具體內容復習2017-05-03
- 2017年物流師三級商業物流系統的結構與功能復習2017-05-03
- 2017年物流師三級商業物流系統的界定復習2017-05-03
- 2017年物流師三級商業系統物流組織形式與機構復習2017-05-02
- 2017年物流師三級商業物流組織機構發展概況復習2017-05-02
- 2017年物流師三級我國商業企業存在的問題及出路復習2017-05-02
- 2017年物流師三級商品流通環節復習2017-04-27
- 2017年物流師三級商品流通渠道復習2017-04-27
- 2017年物流師三級商業物流信息系統的評價標準復習2017-04-27
- 2017年物流師三級商業物流企業計算機信息系統的建立復習2017-04-25
