2014年中國作家協會擬錄用公務員公示
更新時間:2014-04-14 09:28:45
來源:|0
瀏覽
收藏
國家公務員報名、考試、查分時間 免費短信提醒
摘要 2014年中國作家協會擬錄用公務員公示,公示時間:2014年4月11日至4月17日。
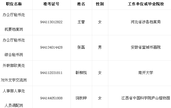
根據《中央機關及直屬機構2014年考試錄用公務員工作實施方案》的要求,經公共科目筆試、面試、體檢、考察等程序,經研究,擬錄用王蕾等4名同志(具體情況見下表)為我會機關工作人員,現將有關情況予以公示。公示期間,如有問題,請向中國作家協會人事部反映。
公示時間:2014年4月11日至4月17日
監督電話:010--64221705

中國作家協會人事部
2014年4月11日
復習備考: 公務員考試真題下載 公務員考試復習資料 公務員面試備考
編輯推薦:
編輯推薦
最新資訊
- 2026年國考一般多久出成績?官方公布1月查分,這些時間點需牢記2025-11-19
- 2026年國考筆試成績幾月份出來?預計1月可查分,速看歷年分數線與查分指南2025-11-19
- 2026年國考筆試面試成績比例全解析:7:3還是5:5?關鍵數據助你精準備考2025-11-19
- 2026年國考后多久出成績?預計1月公布成績,速看查分流程與分數線預測2025-11-19
- 2026年國考成績一般什么時候出:一鍵查分攻略與歷年時間規律2025-11-18
- 2026年國考成績查詢時間:1月開啟查分通道,速看查詢指南2025-10-29
- 2026年國考成績查詢時間及入口匯總2025-10-27
- 2026國考成績一般什么時候出?成績查詢時間預測與備考提醒2025-10-08
- 教育部:2025年度考試錄用國考筆試成績入圍考生材料審核的通知2025-01-17
- 2025國考成績出來了,面試大戰一觸即發!考生需積極備戰,迎接挑戰2025-01-16