2014年民政部擬錄用公務員名單公示
更新時間:2014-03-25 09:40:56
來源:|0
瀏覽
收藏
國家公務員報名、考試、查分時間 免費短信提醒
摘要 2014年民政部擬錄用公務員名單公示,公示時間:2014年3月24日至4月1日。
課程推薦:2014年公務員課程7天免費學 :基礎精講 高效強化 高效押題 專項特訓
個性課程:2014年公務員個性輔導:申論批改 技巧專講 沖刺密卷 個性定制
根據2014年度公務員考錄工作有關規定,在筆試、面試、體檢和考察的基礎上,對擬錄用的13名機關公務員、1名參照公務員法管理事業單位工作人員面向社會予以公示。公示期間,如有問題,請及時向民政部人事司反映。
公示時間:2014年3月24日至4月1日
舉報地址:北京市東城區北河沿大街147號
郵政編碼:100721
監督電話:010-58123358,傳真:58123357
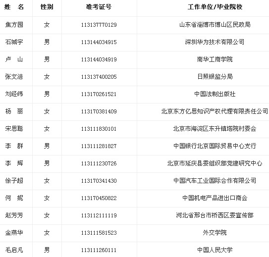
民政部2014年擬錄用公務員、參照管理工作人員人選名單:

民政部人事司
2014年3月24日
復習備考: 公務員考試真題下載 公務員考試復習資料 公務員面試備考
編輯推薦:
編輯推薦
最新資訊
- 2026年國考成績一般什么時候出:一鍵查分攻略與歷年時間規律2025-11-18
- 2026年國考成績查詢時間:1月開啟查分通道,速看查詢指南2025-10-29
- 2026年國考成績查詢時間及入口匯總2025-10-27
- 2026國考成績一般什么時候出?成績查詢時間預測與備考提醒2025-10-08
- 教育部:2025年度考試錄用國考筆試成績入圍考生材料審核的通知2025-01-17
- 2025國考成績出來了,面試大戰一觸即發!考生需積極備戰,迎接挑戰2025-01-16
- 2025年國考成績揭曉:考生反應各異,三點鼓勵助你前行2025-01-16
- 2025國家公務員成績查詢全攻略:查詢時間、入口及面試準備一網打盡2025-01-15
- 2025國考成績公布后,該如何準備面試呢2025-01-15
- 2025國考成績查詢后指南:查詢方式與后續關注要點全解析2025-01-15