2013年甘肅省檢察院公務員擬錄用名單公示
更新時間:2013-12-20 09:09:13
來源:|0
瀏覽
收藏
國家公務員報名、考試、查分時間 免費短信提醒
摘要 2013年甘肅省檢察院公務員擬錄用名單公示,公示時間為11月27日 - 12 月3 日 。
課程推薦:2014年公務員課程7天免費學 :基礎精講 高效強化 高效押題 專項特訓
個性課程:2014年公務員個性輔導:申論批改 技巧專講 沖刺密卷 個性定制
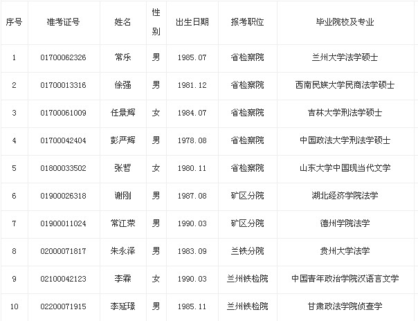
甘肅省 2013年考試錄用 公務員筆試、面試、體檢、考察等工作均已結束,按照《甘肅省 2013年考試錄用公務員公告》,現將甘肅省檢察院擬錄用人員予以公示。公示時間為11月27日 - 12 月3 日 。
如有問題反映,請致電或書面聯系甘肅省 人民檢察院 政治部。
聯系電話: 0931-2369056


甘肅省人民檢察院政治部
2013 年11月27日
復習備考: 公務員考試真題下載 公務員考試復習資料 公務員面試輔導
編輯推薦:
編輯推薦
最新資訊
- 2026年國考成績一般什么時候出:一鍵查分攻略與歷年時間規律2025-11-18
- 2026年國考成績查詢時間:1月開啟查分通道,速看查詢指南2025-10-29
- 2026年國考成績查詢時間及入口匯總2025-10-27
- 2026國考成績一般什么時候出?成績查詢時間預測與備考提醒2025-10-08
- 教育部:2025年度考試錄用國考筆試成績入圍考生材料審核的通知2025-01-17
- 2025國考成績出來了,面試大戰一觸即發!考生需積極備戰,迎接挑戰2025-01-16
- 2025年國考成績揭曉:考生反應各異,三點鼓勵助你前行2025-01-16
- 2025國家公務員成績查詢全攻略:查詢時間、入口及面試準備一網打盡2025-01-15
- 2025國考成績公布后,該如何準備面試呢2025-01-15
- 2025國考成績查詢后指南:查詢方式與后續關注要點全解析2025-01-15