2013年湖南省編辦公務員面試公告
更新時間:2013-11-26 13:19:42
來源:|0
瀏覽
收藏
國家公務員報名、考試、查分時間 免費短信提醒
摘要 2013年湖南省編辦公務員面試公告
課程推薦:2014年公務員課程7天免費學 :基礎精講 高效強化 高效押題 專項特訓
個性課程:2014年公務員個性輔導:申論批改 技巧專講 沖刺密卷 個性定制
根據中共湖南省委組織部、省人力資源和社會保障廳、省公務員局《2013年省直機關公開遴選公務員公告》要求,經報名、筆試、資格審查等程序,按報考職位筆試成績排名和3:1的比例確定了面試人選。現將面試有關事項公告如下。
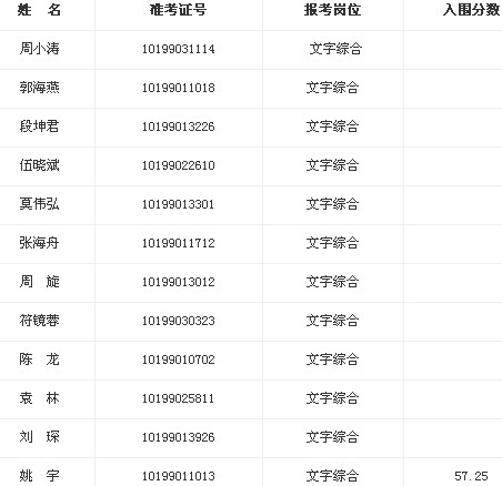
一、面試人員名單

二、面試時間與地點
1.面試時間:2013年11月29日(星期五)上午8:30。
2.面試地點:省委三辦公樓六樓西邊會議室(長沙市韶山北路1號省委大院)。
3.面試要求:面試人員須在當日上午8:00前趕到省編辦報到。面試時需攜帶身份證、準考證。
咨詢電話: 0731―82216523(省編辦人事處)。
湖南省機構編制委員會辦公室
2013年11月25日
編輯推薦:
編輯推薦
最新資訊
- 2026年國考成績查詢時間:1月開啟查分通道,速看查詢指南2025-10-29
- 2026年國考成績查詢時間及入口匯總2025-10-27
- 2026國考成績一般什么時候出?成績查詢時間預測與備考提醒2025-10-08
- 教育部:2025年度考試錄用國考筆試成績入圍考生材料審核的通知2025-01-17
- 2025國考成績出來了,面試大戰一觸即發!考生需積極備戰,迎接挑戰2025-01-16
- 2025年國考成績揭曉:考生反應各異,三點鼓勵助你前行2025-01-16
- 2025國家公務員成績查詢全攻略:查詢時間、入口及面試準備一網打盡2025-01-15
- 2025國考成績公布后,該如何準備面試呢2025-01-15
- 2025國考成績查詢后指南:查詢方式與后續關注要點全解析2025-01-15
- 2025國考成績查詢入口1月14日正式開通:全面指南助你快速查詢2025-01-15