2013年湖南省人力資源和社會保障廳公務員資格審查公告
課程推薦:2014年公務員課程7天免費學 :基礎精講 高效強化 高效押題 專項特訓
個性課程:2014年公務員個性輔導:申論批改 技巧專講 沖刺密卷 個性定制
根據中共湖南省委組織部、省人力資源和社會保障廳、省公務員局《關于2013年省直機關公開遴選公務員的公告》,經報名、筆試,按報考職位筆試成績排名和3:1的比例確定了參加報考我廳職位資格審查的人員,現將有關事項公告如下:
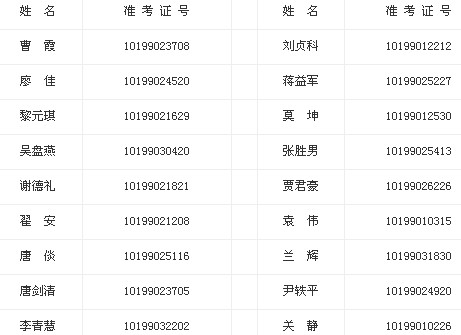
一、資格審核人員名單
文字綜合職位:

財務管理崗位:

二、資格審查具體安排
1、時間:11月27日(8:30―12:00、14:30―17:00)。
2、地點:省人力資源和社會保障廳人事教育處(長沙市天心區青園路18號)行政樓212室。
3、所需資料:
準考證、身份證、學歷證書原件和復印件;公務員登記表或參公管理單位工作人員登記表;所在單位組織人事部門審核蓋章的《2013年省直機關公開遴選公務員報名表》(不得隨意改變格式)及工作單位提供具有兩年以上公務員崗位工作經歷的證明材料(不含試用期,需蓋單位公章)。
報考文字綜合職位的,須提供單位出具的政策法規或文字綜合崗位工作經歷證明,以及本人起草有代表性的文稿5篇以上。
報財務管理職位的,須提供會計專業中級以上職稱證書的原件及復印件。
三、其他事項
1、請參加資格審查的考生盡快與省人社廳聯系確認。在規定時間內無故未參加資格審查的考生、因考生本人未留聯系方式或所留聯系方式無效導致無法取得聯系的,視為自動放棄面試資格。
2、資格審查中發現不符合報考條件以及提供虛假資料的,取消面試資格。
3、考生主動放棄參加面試的,請及時與我處取得聯系,并提供書面說明材料。
4、審查未通過、逾期未參加或考生主動放棄的,按該職位筆試成績排名依次遞補,由工作人員電話通知遞補人員參加資格審查。
5、如有特殊情況本人不能在規定時間參加審查的,須向及時報告,待同意后方可安排其他時間進行審查。
聯系電話:0731-84900013 84900054。
湖南省人力資源和社會保障廳
2013年11月25日
編輯推薦:
最新資訊
- 2026年國考成績一般什么時候出:一鍵查分攻略與歷年時間規律2025-11-18
- 2026年國考成績查詢時間:1月開啟查分通道,速看查詢指南2025-10-29
- 2026年國考成績查詢時間及入口匯總2025-10-27
- 2026國考成績一般什么時候出?成績查詢時間預測與備考提醒2025-10-08
- 教育部:2025年度考試錄用國考筆試成績入圍考生材料審核的通知2025-01-17
- 2025國考成績出來了,面試大戰一觸即發!考生需積極備戰,迎接挑戰2025-01-16
- 2025年國考成績揭曉:考生反應各異,三點鼓勵助你前行2025-01-16
- 2025國家公務員成績查詢全攻略:查詢時間、入口及面試準備一網打盡2025-01-15
- 2025國考成績公布后,該如何準備面試呢2025-01-15
- 2025國考成績查詢后指南:查詢方式與后續關注要點全解析2025-01-15