2013年湖南供銷合作總社遴選公務員面試公告
更新時間:2013-11-21 10:55:29
來源:|0
瀏覽
收藏
國家公務員報名、考試、查分時間 免費短信提醒
摘要 2013年湖南供銷合作總社遴選公務員面試公告
課程推薦:2014年公務員課程7天免費學 :基礎精講 高效強化 高效押題 專項特訓
個性課程:2014年公務員個性輔導:申論批改 技巧專講 沖刺密卷 個性定制
根據中共湖南省委組織部、省人力資源和社會保障廳、省公務員局《2013年省直機關公開遴選公務員公告》,經過筆試和資格審查,按遴選人數1:3比例確定參加業務水平測試和面試人員,現將有關事項公告如下:
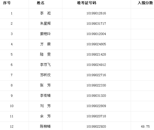
1.財務及綜合管理職位(12人):

2.法務工作崗位(3人):

業務水平測試時間與地點
11月22日(星期五)下午2:30-5:00,省供銷合作總社7樓大會議室。
面試時間與地點
11月23日(星期六)上午8:00前報到,8:30開始。省供銷合作總社7樓大會議室。
四、成績合成
面試結束后,按筆試成績的50%、面試成績的30%、業務水平測試成績的20%合成綜合成績。財務及綜合管理職位取綜合成績前四名進入體檢與考察環節;法務工作職位取綜合成績第一名進入體檢與考察環節。
進行業務水平測試與面試時,須攜帶本人身份證及準考證。未按規定參加業務水平測試和面試的人員,視作自動放棄。
聯系電話:0731―84403104(省供銷合作總社人事處)。
湖南省供銷合作總社
2013年11月20日
復習備考:國考預測題
編輯推薦:
編輯推薦
最新資訊
- 2026年國考成績一般什么時候出:一鍵查分攻略與歷年時間規律2025-11-18
- 2026年國考成績查詢時間:1月開啟查分通道,速看查詢指南2025-10-29
- 2026年國考成績查詢時間及入口匯總2025-10-27
- 2026國考成績一般什么時候出?成績查詢時間預測與備考提醒2025-10-08
- 教育部:2025年度考試錄用國考筆試成績入圍考生材料審核的通知2025-01-17
- 2025國考成績出來了,面試大戰一觸即發!考生需積極備戰,迎接挑戰2025-01-16
- 2025年國考成績揭曉:考生反應各異,三點鼓勵助你前行2025-01-16
- 2025國家公務員成績查詢全攻略:查詢時間、入口及面試準備一網打盡2025-01-15
- 2025國考成績公布后,該如何準備面試呢2025-01-15
- 2025國考成績查詢后指南:查詢方式與后續關注要點全解析2025-01-15