2013年陜西商洛市從工農中錄用公務員擬錄名單公示
更新時間:2013-10-25 10:43:24
來源:|0
瀏覽
收藏
國家公務員報名、考試、查分時間 免費短信提醒
摘要 2013年陜西商洛市從工農中錄用公務員擬錄名單公示
課程推薦:2014年公務員課程7天免費學 :基礎精講 高效強化 高效押題 專項特訓
個性課程:2014年公務員個性輔導:申論批改 技巧專講 沖刺密卷 個性定制
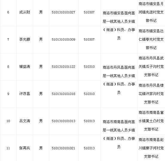
根據《2013年陜西省從優秀工人農民中考試錄用公務員工作公告》有關要求,經推薦報名和筆試、面試、量化考察、體檢等程序,擬錄用下列同志為商洛市面向基層一線其他人員職位公務員,現予以公示,歡迎社會各界廣泛監督。如有異議,可直接向商洛市委組織部或省委組織部公務員管理處反映。
公示時間:2013年10月24日―10月30日
監督電話:商洛市委組織部:0914-2389190
省委組織部:029―85588750



最新資訊
- 2026年國考成績查詢時間:1月開啟查分通道,速看查詢指南2025-10-29
- 2026年國考成績查詢時間及入口匯總2025-10-27
- 2026國考成績一般什么時候出?成績查詢時間預測與備考提醒2025-10-08
- 教育部:2025年度考試錄用國考筆試成績入圍考生材料審核的通知2025-01-17
- 2025國考成績出來了,面試大戰一觸即發!考生需積極備戰,迎接挑戰2025-01-16
- 2025年國考成績揭曉:考生反應各異,三點鼓勵助你前行2025-01-16
- 2025國家公務員成績查詢全攻略:查詢時間、入口及面試準備一網打盡2025-01-15
- 2025國考成績公布后,該如何準備面試呢2025-01-15
- 2025國考成績查詢后指南:查詢方式與后續關注要點全解析2025-01-15
- 2025國考成績查詢入口1月14日正式開通:全面指南助你快速查詢2025-01-15