2014年國家公務員考試職位表(山東省郵政管理局)
更新時間:2013-10-17 15:04:12
來源:|0
瀏覽
收藏
國家公務員報名、考試、查分時間 免費短信提醒
摘要 2014年國家公務員考試職位表(山東省郵政管理局)
課程推薦:2014年公務員課程7天免費學 :基礎精講 高效強化 高效押題 專項特訓
個性課程:2014年公務員個性輔導:申論批改 技巧專講 沖刺密卷 個性定制
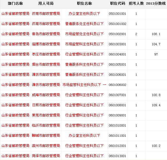
2014年國家公務員考試山東省郵政管理局職位表如下:

熱點文章:2014年國家公務員考試職位表
編輯推薦:
編輯推薦
最新資訊
- 2027國考崗位職位表查詢全攻略:手把手教你精準篩選適合崗位2025-12-09
- 2027國家公務員考試職位表發布時間預測!10月14日公告,這份超全職位篩選指南請收好2025-12-09
- 2026年國家公務員考試前夜必讀:八大關鍵準備事項2025-11-28
- 2026國考筆試考哪些科目?這份超全科目清單請收好2025-11-28
- 2026年國考什么時候出成績:一鍵查詢方法與進面分數線預測2025-11-18
- 2026年國考申論題型分布全解析:備考策略與高頻考點2025-11-18
- 2026國考如何備考?揭秘公考“邪修”方法論:從心態到技巧的逆襲指南2025-11-10
- 2026國考怎么備考?公務員考試全階段攻略(附避坑指南)2025-11-10
- 2026國考是考什么?公務員考試科目深度掃盲(零基礎必看攻略)2025-11-10
- 2026國考和省考的區別全解析:從考試時間到待遇發展的深度掃盲指南2025-11-10