2013年山西省供銷社事業單位招聘資格復審通知
更新時間:2013-07-08 15:49:38
來源:|0
瀏覽
收藏
國家公務員報名、考試、查分時間 免費短信提醒
摘要 2013年山西省供銷社事業單位招聘資格復審通知
課程推薦:2014年公務員課程7天免費學 :基礎精講 高效強化 高效押題 專項特訓
個性課程:2014年公務員個性輔導:申論批改 技巧專講 沖刺密卷 個性定制
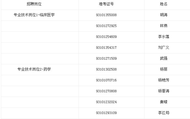
2013年山西省供銷社事業單位招聘資格復審名單如下:


資格復審合格的應聘人員,成績從高分到低分排序,按5:1的比例(不足5:1的,按實有人數確定)進入專業測試、面試人選。
資格復審不合格者,取消應聘資格。資格復審結束后,按照復審實際合格人數確定專業測試人選,不再遞補。
咨詢電話:0351―4158670
山西省供銷社招聘工作領導組
二○一三年七月四日
溫馨提示:請大家及時關注環球網校公務員頻道及論壇,小編將第一時間為大家提供公務員考試最新信息。
編輯推薦:
編輯推薦
最新資訊
- 2026年國考筆試成績和面試隔多久?時間節點全解析與備考指南2025-12-10
- 2026年國考一般多久出筆試成績?官方時間表與備考攻略2025-12-10
- 2026年國考什么時候出筆試成績?官方時間+查分攻略全解析2025-12-10
- 2026年國考筆試成績計算方法全解析!不同職位算法一文讀懂2025-12-10
- 2026年國考筆試成績公布時間確定!1月查分+備考全攻略2025-12-10
- 2026國考筆試成績出來后多久面試?時間節點全解析與備考指南2025-12-10
- 2026國考筆試成績1月份出!查分時間、入口及備考全攻略2025-12-10
- 2026國考筆試成績幾月份出來?官方時間+查分入口+備考攻略2025-12-10
- 2026國考多久出筆試成績?查分時間、入口及備考全攻略2025-12-10
- 2026國考筆試成績一般什么時候出?查分時間、入口及備考攻略全解析2025-12-10