2013年環境保護部擬錄用人員公示
更新時間:2013-05-27 10:51:54
來源:|0
瀏覽
收藏
國家公務員報名、考試、查分時間 免費短信提醒
摘要 2013年環境保護部擬錄用人員公示
課程推薦:2014年國家公務員考試基礎課程 | 行測、申論單科專項輔導
熱點課程:413聯考面試一對一互動輔導 | 2014年事業單位考試直播公開課
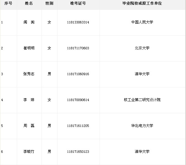
根據2013年度公務員考錄工作有關規定,綜合考試成績、體檢結果及考察情況,經研究,擬錄用聞閩等8人為環境保護部機關公務員和方?等41人為環境保護部參公單位工作人員(名單附后),現將有關情況進行公示。公示期間,如對人選有異議,請向環境保護部人事司反映。
公示時間:2013年5月24日至5月30日
監督電話:010-66556171


環境保護部行政體制與人事司
2013年5月23日
編輯推薦:
編輯推薦
最新資訊
- 2026年國考一般多久出成績?官方公布1月查分,這些時間點需牢記2025-11-19
- 2026年國考筆試成績幾月份出來?預計1月可查分,速看歷年分數線與查分指南2025-11-19
- 2026年國考筆試面試成績比例全解析:7:3還是5:5?關鍵數據助你精準備考2025-11-19
- 2026年國考后多久出成績?預計1月公布成績,速看查分流程與分數線預測2025-11-19
- 2026年國考成績一般什么時候出:一鍵查分攻略與歷年時間規律2025-11-18
- 2026年國考成績查詢時間:1月開啟查分通道,速看查詢指南2025-10-29
- 2026年國考成績查詢時間及入口匯總2025-10-27
- 2026國考成績一般什么時候出?成績查詢時間預測與備考提醒2025-10-08
- 教育部:2025年度考試錄用國考筆試成績入圍考生材料審核的通知2025-01-17
- 2025國考成績出來了,面試大戰一觸即發!考生需積極備戰,迎接挑戰2025-01-16
