2013年安徽省廣播電視科研所資格復審及專業測試公告
課程推薦:2014年國家公務員考試基礎課程 | 行測、申論單科專項輔導
熱點課程:413聯考面試一對一互動輔導 | 2014年事業單位考試直播公開課
根據省委組織部、省人力資源和社會保障廳《關于印發<安徽省事業單位公開招聘人員暫行辦法>的通知》和《關于印發〈2013年度安徽省省直事業單位公開招聘人員實施方案〉的通知》規定和相關要求,并結合安徽省廣播電視科研所(以下簡稱“省廣電科研所”)工作實際,特制定如下專業測試及有關工作實施方案。
一、資格復審
(一)確定參加資格復審的人員
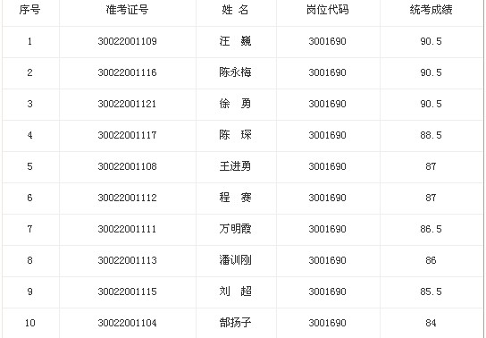
根據應聘人員統考筆試成績從高分到低分的順序,按照1∶5比例確定參加專業測試人員名單,并進行資格復審(名單、成績附后)。
(二)資格復審時間和地點
時間:2013年5月23日-24日,上午8∶30―11∶30,下午14∶30―17∶30,逾期視為自動放棄。
地點:省廣電科研所辦公室(合肥市桐城南路359號,省廣電科研所2樓)。乘車路線:120、131、158等公交車到省廣電中心車站下。聯系電話:0551-63443465,聯系人:鄧成華。網址:www.angdky.cn;電子信箱:angdky @163.com。
(三)資格復審要求
1.資格復審時,應聘人員須提供以下證件、材料的原件及復印件各1份:
(1)屬全日制2013年應屆畢業生的,須提供本人有效居民身份證原件、學生證原件、研究生學歷(位)證書、報名資格審查表和所在學校蓋章的畢業生就業推薦表等材料。
(2)屬社會人員的,須提供本人有效居民身份證原件、碩士學歷(學位)證書、招聘崗位規定要求的相關證書(證件)原件和報名資格審查表等材料。其中屬在編正式工作人員的,需按人事管理權限提供單位(主管部門)同意報考的證明。
(3)招聘崗位要求具有1年以上工作經歷的,需提供相關證明。
上述人員中,屬已修完教學計劃規定全部課程、各科成績合格、2013年畢業但尚未取得畢業證書的非全日制學歷教育的人員,可憑學校或省、市負責自學考試、成人教育等工作的教育主管部門出具的該學歷層次、畢業時間以及“2013年畢業,已修完教學計劃規定全部課程,各科成績合格,畢業證書待發”的書面證明和各科“成績單”,及有關證件材料辦理報考資格復審。
2.省廣電科研所依據招聘公告規定的報考資格條件和應聘人員網上報名時提供的照片與信息,對照省人事考試院提供的《考場座次表》上的信息,對進入專業測試的人選進行資格復審。凡與報考資格條件要求不符或不能按規定提供證件材料的,取消其參加專業測試資格。因故出現人選缺額的,依統考筆試成績從高分到低分,依次等額遞補(按省人社廳規定,須在統考筆試最低控制分數線之上,下同)。
3. 對資格復審合格的應聘人員,按規定繳納專業測試費用,領取專業測試通知書。
二、專業測試
(一)專業測試方法
采用專業筆試和面試方式。專業筆試和面試均為百分制。
1.專業筆試:采取閉卷方式,時間為120分鐘。主要考察擬聘人員從事崗位工作必備的專業技術相關知識。
2.面試:采取結構化面試的方式,時間每人15分鐘。主要考察應聘者履行本崗位的專業技術水平、綜合分析、解決實際問題能力、語言表達能力等。參加面試的人員順序現場抽簽確定。面試成績當場評定并公布。
(二)專業測試時間和地點
1.專業測試時間:定于2013年5月28日進行,專業筆試時間為28日上午9∶00―11∶00,面試時間為28日下午14∶30―17∶00。考生請于當天上午8∶30、下午14∶00前到省廣電科研所辦公室報到。未按時參加專業測試報到的人員,視為自動放棄考試資格。
2.專業測試筆試和面試地點設在省廣電科研所三樓辦公室及會議室。
3.參加專業測試的人員須持專業測試通知書、統考筆試準考證、本人有效居民身份證(均為原件)參加專業測試。
(三)監考人員及考官構成
設立專業筆試監考組,由省廣電局人事處、監察室和省廣電科研所人員組成。
根據招聘專業崗位,設立面試考官組,考官由5人組成,其中外聘考官3名。
(四)成績合成
如崗位招聘數與進入專業測試人員比例低于1∶3,提前設定專業測試最低分數線70分。對專業測試成績未達到最低分數線的考生,不予進入考察和體檢。
應聘人員考試最終成績依據統考筆試成績與專業測試成績合成確定(百分制),其中:統考筆試成績占35%,專業測試成績占65%(專業筆試成績占35%、面試成績占30%)。
應聘者考試最終成績在專業測試結束后10個工作日內在省廣播電影電視局和省廣電科研所網站上公布。
三、考察體檢
根據招聘計劃數和應聘人員考試最終成績,從高分到低分,按1∶1比例確定參加考察、體檢人員(如考試最終成績相同,以專業測試成績得分高者優先)。
考察主要考核擬聘人員的政治思想、道德品質、業務能力、工作實績(學業成績)以及遵守國家法律法規等情況。
對考察合格的人員統一組織在三級甲等綜合性醫院進行體檢,費用自理。體檢參照《公務員錄用體檢通用標準(試行)》(國人部發〔2005〕1號)、《公務員錄用體檢操作手冊(試行)》(國人廳發〔2007〕25號)、《關于修訂〈公務員錄用體檢通用標準(試行)〉及〈公務員錄用體檢操作手冊(試行)〉的通知》(人社部發〔2010〕19號)和《公務員錄用體檢特殊標準(試行)》(人社部發〔2010〕82號)等規定執行。對考察、體檢出現缺額的,按照規定程序和時限,在同崗位報考人員中,按考試最終成績從高分到低分依次等額遞補。考察、體檢最終結果公示結束,不再遞補。
四、簽約聘用
對考察、體檢合格者,由省廣電科研所確定為擬聘人員,在省廣播電影電視局和省廣電科研所網站公示7天。公示無異議后,按規定將有關材料送省廣電局審查后,報省人社廳核準辦理有關手續。
應聘人員如在2013年12月31日前仍未取得招聘崗位規定要求的學歷、學位等證書,按規定取消其聘用資格。
根據國家和省有關文件規定,新進人員實行聘用制,須與招聘單位簽訂事業單位聘用合同,并實行試用期,試用期包括在聘用合同期限內。試用期滿合格的,予以正式聘用;不合格的,取消聘用。
五、組織領導與監督
專業測試工作嚴格執行民主、公開、競爭、擇優的原則,在省人社廳和省廣電局的指導監督下,由省廣電科研所按人事考試規則和保密、回避等規定負責組織實施,省廣電局紀檢監察室全程參與監督,并接受社會及有關部門的監督。
咨詢電話:0551-63443465
監督電話:0551-63421341
省廣電科研所2013年度公開招聘入圍資格復審考生名單:

編輯推薦:
最新資訊
- 2026年國考成績查詢時間:1月開啟查分通道,速看查詢指南2025-10-29
- 2026年國考成績查詢時間及入口匯總2025-10-27
- 2026國考成績一般什么時候出?成績查詢時間預測與備考提醒2025-10-08
- 教育部:2025年度考試錄用國考筆試成績入圍考生材料審核的通知2025-01-17
- 2025國考成績出來了,面試大戰一觸即發!考生需積極備戰,迎接挑戰2025-01-16
- 2025年國考成績揭曉:考生反應各異,三點鼓勵助你前行2025-01-16
- 2025國家公務員成績查詢全攻略:查詢時間、入口及面試準備一網打盡2025-01-15
- 2025國考成績公布后,該如何準備面試呢2025-01-15
- 2025國考成績查詢后指南:查詢方式與后續關注要點全解析2025-01-15
- 2025國考成績查詢入口1月14日正式開通:全面指南助你快速查詢2025-01-15
