土建工程實務輔導:結構施工圖4
更新時間:2009-10-19 15:27:29
來源:|0
瀏覽
收藏
二級造價工程師報名、考試、查分時間 免費短信提醒
三、樓梯結構圖
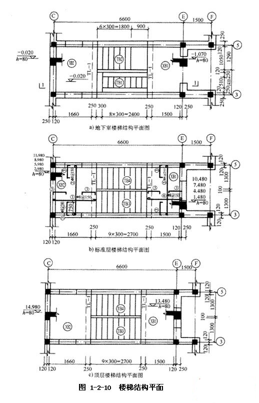
樓梯結構施工圖包括樓梯結構平面圖和樓梯結構剖面圖。來源造價100分網站/.
樓梯結構平面圖主要表示樓梯類型、尺寸、結構及梯段在水平投影的位置、編號、休息平臺板配筋和標高等。
樓梯結構剖面圖主要表示各樓梯段、休息平臺板的立面投影位置、標高、樓梯板配筋詳圖。讀圖舉例:圖1-2-10、圖1-2-11是某住宅樓梯結構圖。
(一)圖1-2-10為樓梯結構平面圖
從圖中看出樓梯位于C~E與③~⑤軸線間,從地下室上到第一休息平臺(標高-1.070m)共有9級踏步,每步寬300mm;TBl、TB2分別是踏步板l、踏步板2的編號,從圖1-2-10a中看到TBl、TB2的長為2400mm,寬分別為1100mm,1170mm,其中TBl只在中間510mm范圍內有踏步,兩邊為斜平板。TLl表示支撐樓梯平臺板的平臺梁。XBl、XB2表示兩個休息平臺板,其標高分別為-1.070m,-0.020m,板厚h=80mm。在圖1-2-10b中畫出了平臺板XBl、XB2的配筋情況。

?2008年全國建設工程造價員資格考試大綱![]()
?2009年造價員考前網上輔導招生簡章
編輯推薦
上一篇:土建工程實務輔導:結構施工圖3
下一篇:土建工程實務輔導:結構施工圖5
最新資訊
- 免費下載!2025年新疆二級造價師考前3頁紙2025-11-04
- 免費下載~2025年河南二級造價工程師備考資料包2025-10-25
- 新疆2025年二造考試科目都有哪些2025-10-23
- 免費下載!2025年河南二級造價師備考資料包2025-10-23
- 2025年新疆二級造價工程師備考資料大匯總2025-10-10
- 考前3天搶分必刷!2025年上海二級造價工程師3套模考卷2025-10-09
- 最后3天抓緊背!2025年上海二級造價師考前3頁紙2025-10-09
- 沖刺備考必備!2025年上海二級造價師考試備考資料包2025-10-05
- 2025年新疆二級造價師考試大綱2025-10-02
- 黃金13天!2025年上海二級造價師備考這份資料盡早背2025-09-29